Product Summary
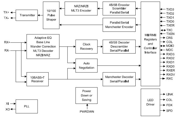
The KS8721BL is a Single Power Supply Physical Layer Transceiver. Operating with a 2.5V core to meet low-voltage and low-power requirements, the KS8721BL uses MII and RMII interfacesto transmit and receive data. The device contains 10BASE-T Physical Medium Attachment (PMA), PhysicalMedium Dependent (PMD), and Physical Coding Sub-layer (PCS) functions. The KS8721BL also have on-chip 10BASE-T output filtering. This eliminates the need for external filters and allows a single set of line magnetics to be used to meet requirements for both 100BASE-TX and 10BASE-T.
Parametrics
KS8721BL absolute maximum ratings: (1)Storage Temperature (Ts): -55℃ to +150℃; (2)Supply Referenced to GND: -0.5V to +4.0V; (3)All Pins: -0.5V to +4.0V; (4)Supply Voltage ; (5)(VDD_PLL, VDD_TX, VDD_RXC, VDD_RCV, VDDC): +2.5V; (6)(VDDIO): +3.3V; (7)Ambient Temperature (TA); (8)Commercial: 0℃ to +70℃; (9)Industrial: -40℃ to +85℃; (10)Package Thermal Resistance; (11)LQFP(θJA), No Airflow: 83.56℃/W; (12)SSOP(θJA), No Airflow: 75.19℃/W.
Features
KS8721BL features: (1)Single chip 100BASE-TX/100BASE-FX/10BASE-T physical layer solution; (2)2.5V CMOS design; 2.5/3.3V tolerance on I/O; (3)3.3V single power supply with built-in voltage regulator; Power consumption <340mW (including output driver current); (4)Fully compliant to IEEE 802.3u standard; (5)Supports MII and Reduced MII (RMII); (6)Supports 10BASE-T, 100BASE-TX, and 100BASE-FX with Far_End_Fault Detection; (7)Supports power-down and power-saving modes; (8)Configurable through MII serial management ports or via external control pins.
Diagrams

| Image | Part No | Mfg | Description | ![]() |
Pricing (USD) |
Quantity | ||||
|---|---|---|---|---|---|---|---|---|---|---|
![]() |
![]() KS8721BL |
![]() |
![]() IC TXRX PHY 10/100 3.3V 48LQFP |
![]() Data Sheet |
![]() Negotiable |
|
||||
![]() |
![]() KS8721BL TR |
![]() |
![]() IC TXRX PHY 10/100 3.3V 48LQFP |
![]() Data Sheet |
![]() Negotiable |
|
||||
![]() |
![]() KS8721BLA4 TR |
![]() |
![]() TXRX 10/100 3.3V 48-LQFP |
![]() Data Sheet |
![]() Negotiable |
|
||||
![]() |
![]() KS8721BLA4 |
![]() |
![]() TXRX 10/100 3.3V 48-LQFP |
![]() Data Sheet |
![]() Negotiable |
|
||||
![]() |
![]() KS8721BLI |
![]() |
![]() IC TXRX PHY 10/100 3.3V 48LQFP |
![]() Data Sheet |
![]() Negotiable |
|
||||
![]() |
![]() KS8721BL-EVAL |
![]() |
![]() BOARD EVAL EXPERIMENT KS8721BL |
![]() Data Sheet |
![]() Negotiable |
|
||||
![]() |
![]() KS8721BLI TR |
![]() |
![]() TXRX 10/100 3.3V 48-LQFP |
![]() Data Sheet |
![]() Negotiable |
|
||||
(China (Mainland))










